Copyright © 2012 by "Elsnab" Ltd  ·  All Rights reserved
220021, Республика Беларусь, г. Минск, ул. Украинская, 8.
Каталог продукции
>Каталог>лампы генераторные>ГУ-19-1
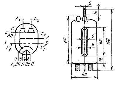
ГЕНЕРАТОРНАЯ ЛАМПА ГУ-19-1
Двойной генераторный тетрод ГУ-19-1 в стеклянном оформлении с оксидным катодом косвенного накала ГУ-19-1 предназначен для использования в схемах модуляторов, умножителей частоты, усилителей мощности и генераторов на частотах до 500 МГц.

Лампу изготовляют в климатических исполнениях УХЛ и В категории размещения 3.1 по ГОСТ 15150-69.
Основные параметры лампы генераторной ГУ-19-1

при Uн=6,3 В, Uа=350 В, Uс2=250 В, Ia=40 мА 
Ток накала 2 ± 0,2  А
Ток анода (при U'с1= -17 В) 40 ± 20 мА
Ток 2-й сетки
< 8 мА
Ток 1-й сетки обратный (при Iа=50 мА)
<10 мкА
Крутизна характеристики (при изменении Uc на 0,5 В) 4,5 мА/В
Колебательная мощность (при Iа=240 мА)
> 45 Вт
Междуэлектродные емкости, пФ:  
      входная 10 ± 2
      выходная 3,5 ± 0,5
     проходная   0,08
Долговечность средняя
> 1000 ч
Колебательная мощность
> 36 Вт
компания "Элснабцентр"