Copyright © 2012 by "Elsnab" Ltd  ·  All Rights reserved
220021, Республика Беларусь, г. Минск, ул. Украинская, 8.
Каталог продукции
>Каталог>лампы генераторные>ГУ-33Б
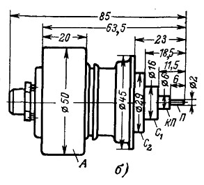
ГУ-33Б - генераторный тетрод для работы в качестве генератора колебаний и усилителя высокочастотных колебаний на частотах до 500 МГц.
      Оформление - металлокерамическое.
      Охлаждение - принудительное:
      ГУ-33Б: воздушное 40м3/ч.
Масса:ГУ-33Б 220г.
              Основные параметры тетрода ГУ-33Б
              при Uн=6,3 В, Uа=400 В, Uc2=300 В, Iа= 375 мА
Ток накала                                                                              5,15 ± 0,45 А
Ток 1-й сетки обратный                                                               < 20 мкА
Напряжение смещения на 1-й сетке отрицательное                  7 ± 5 В
Напряжение отсечки тока  анода (при Uн=1000 В, Iа=5 мА)     60 В
Крутизна характеристики                                                     26 ± 6 мА/В
Колебательная мощность на частоте 60 МГц (при Uа= 1кВ,
Uс2= 250 В, Uс=52 В)                                                                 130 Вт
Колебательная мощность на частоте 250 МГц (при Uа= 0,9кВ,
Iа= 310 мА)                                                                              120 Вт
Снижение колебательной мощности (при Uн=5,7 В)                   25 %
Коэффициент усиления 1-й сетки относительно 2-й сетки
(при Uc2=250 и 300 В)                                                                   13
Междуэлектродные емкости, пФ:
     входная 11  ± 5
     выходная 8,5 ± 1,5
     проходная   0,1
Долговечность средняя не менее 1000 ч
колебательная мощность (на частоте 60 МГц)                                105 Вт

              Предельные эксплуатационные данные ГУ-33Б
Напряжение накала                                              5,7 - 6,9 В
Напряжение анода                                              1500 В
Напряжение 2-й сетки                                              400 В
Напряжение 1-й сетки отрицательное                      200 В
Мощность, рассеиваемая анодом                      150 Вт
Мощность, рассеиваемая 2-й сеткой                      10 Вт
Мощность, рассеиваемая 1-й сеткой                      2 Вт
Ток катода                                                          340 мА
Рабочая частота                                              500 МГц
Температура анода и мест спаев стекла с металлом  150 С
Интервал рабочих температур окружающей среды     от +5 до +70 С
компания "Элснабцентр"