Copyright © 2012 by "Elsnab" Ltd  ·  All Rights reserved
220021, Республика Беларусь, г. Минск, ул. Украинская, 8.
Каталог продукции
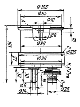
>Каталог>тиратроны>ТГИ1-1000/25
Тиратрон ТГИ1-1000/25 применяется в электрофизических установках, источниках питания лазеров, медицинской аппаратуре, радарах и работают при частоте повторения импульсов до 50000 имп/с при условии снижения импульсной и средней мощности. Высокий КПД и простота управления, устойчивость к механическим и климатическим воздействиям.

              Основные технические характеристики ТГИ1-1000/25
Напряжение анода                                      25кВ
Напряжение анода обратное                       1,5-5,0кВ
Ток анода в импульсе                                 1000А
Ток анода средний                                      1,0А
Длительность импульса тока анода              0.3 - 50мкс
Частота повторения импульсов                    700имп./с
Время разогрева                                         5мин
Ток накала                                                  22А
Габариты: 110x200мм
компания "Элснабцентр"